Область применения
Монтаж отопления из полипропиленовых труб возможен на различных объектах. Это достаточно универсальный материал. Он применяется при создании различных котельных установок.
Трубы из полипропилена подходят для монтажа как холодного, так и горячего водоснабжения. Одной из основных сфер применения является установка систем централизованного отопления. Также для объектов частной недвижимости, в загородных домах, коттеджах и на дачах создаются отопительные системы при использовании полипропилена.
Помимо этого, армированные полимерные коммуникации подходят для сельскохозяйственных предприятий. Их используют в целях орошения посевных площадей, создания дренажных систем. На промышленных производствах представленный материал подходит для создания трасс при перемещении химических веществ, сжатого кислорода.
Технические характеристики полипропиленовых труб для отопления
Аббревиатуру, с информацией о рабочих параметрах изделия, наносят на стенки труб. Базовая маркировка полипропилена (РР) соответствует международным стандартам:
- логотип фирмы производителя;
- буквенное обозначение и дополнение о модификации изделия (PP-random, PPRC, PPs);
- условное давление (PN25 МПа) рабочей среды;
- внешний диаметр и размер стенки изделия;
- класс эксплуатации;
- предельно допустимое рабочее давление в барах, которое опосредованно указывает на срок службы изделия;
- стандарт продукта.

Полипропиленовые трубы могут быть армированы стекловолокном или алюминием
Описание конструктивных особенностей, назначения и области применения продукта приводит производитель в техническом паспорте изделия. Таблица, в качестве примера, приводит данные о продукции производителя VALTEC (Италия):
| Класс | Место применения | Рабочее давление, бар | |
| Стекловолокно | Алюминий | ||
| 1 | Горячее водоснабжение, Т = 60°С | 13 | 14 |
| 2 | Горячее водоснабжение, Т = 70°С | 10 | 11 |
| 3 | Теплые полы, Т = 50°С | 14 | 18 |
| 4 | Теплые полы, Т = 70°С | 10 | 13 |
| 5 | Радиаторное отопление (с учетом типа армирования трубы: алюминиевая фольга Т = 90°С, стекловолоконная фибра Т = 90°С) | 6 | 9 |
Изделия с внутренней вставкой алюминиевой фольги применяют преимущественно для отопления. Армирование полипропиленовых труб стекловолокном также позволяет их использование в радиаторных контурах, теплых полах и горячем водоснабжении частных домов. Однако трубы с внутренним слоем из стекловолоконной фибры допускают незначительное удлинение линейных участков при нагреве и проницаемость кислорода.
Технические характеристики армированных труб из полипропилена (производитель VALTEC):
| Физические свойства | Алюминиевая фольга | Стекловолоконная фибра | ||||
| Диаметр и толщина стенки трубы, мм | ||||||
| 25х4,2 | 32х5,4 | 40х6,7 | 25х3,5 | 32х4,4 | 40х5,5 | |
| Внутренний диаметр | 16,6 | 21,2 | 26,6 | 18 | 23,2 | 29 |
| Номинальное давление, PN, бар | 25 | 20 | ||||
| Масса погонного метра трубы, кг | 0,262 | 0,446 | 0,880 | 0,235 | 0,378 | 0,590 |
| Плотность PPR, г/см³ | 0,91 | 0,91 | ||||
| Наполнение трубы, литров в 1 пгм | 0,217 | 0,353 | 0,556 | 0,254 | 0,423 | 0,660 |
| Удельная теплоемкость при кДж/(кг*ºС) | 1,75 | 1,75 | ||||
| Предел усилия на разрыв, МПа | 35 | 35 | ||||
| Кислородопроницаемость, мг/м² в сутки | − | |||||
| Эквивалентная шероховатость внутренней поверхности, мм | 0,01 | 0,015 | ||||
| Линейное увеличение длины 1/ºС | 3,1х10-5 | 6,2х10-5 | ||||
| Коэффициент теплопроводности, Вт/(м*ºС) | 0,24 | 0,15 |
Фитинги и вентили для систем отопления из полипропилена выполняют из аналогичного материалу труб random сополимера. Элементы без резьбы предназначены для соединения в раструб, при котором труба вставляется в корпус фитинга. Внутренний диаметр соединительных деталей (уголков 90? и 45?, муфт, переходников, тройников, крестовин и кранов) соответствует наружному диаметру трубы. Линейное температурное расширение нивелируют готовые компенсаторные петли или сварные конструкции самостоятельного исполнения.
Фиксаторы (одиночные и блоки клипс), предназначены для крепежа прямых, горизонтальных или вертикальных участков трубопровода вдоль стен. Шаг установки крепежа (рекомендует производитель) зависит от размера трубы и качественных параметров теплоносителя. Хомуты из аналогичного сырья предназначены для крепления ПП труб большого диаметра. Крепление может быть жестким или плавающим, небольшой зазор обеспечит возможность свободного хода при тепловом расширении.

Строение армированной трубы: 1 — полипропилен; 2 — алюминиевая фольга; 3 — полипропилен; S — общая толщина трубы; S1* — толщина основной трубы; d — наружный диаметр; dy* — наружный диаметр основной трубы
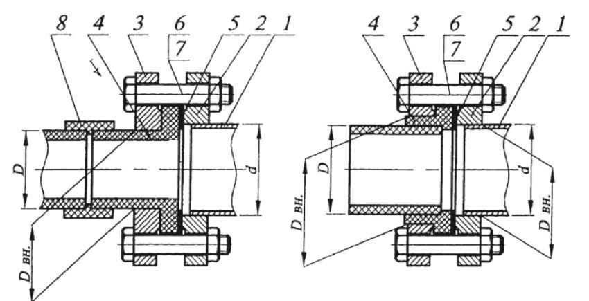
Соединение со стальными трубами или арматурой получают при помощи комбинированных соединительных деталей. Разборные фитинги (американки) для перехода с металла на полимер выпускают с внутренней или внешней резьбой из гальванизированного металла с одной стороны, и пропиленовой вставкой с другой.
Комплект фасонных и соединительных деталей подбирается индивидуально для каждого помещения в доме. Количество и марки фитингов зависят от конфигурации системы отопления и вида отопительного оборудования.

Соединение полипропиленовой и стальной трубы: 1 — стальная труба; 2 и 3 — стальной фланец; 4 — буртовая втулка; 5 — прокладка; 6 и 7 — крепежные элементы; 8 — муфта
Основные характеристики
Перед тем как купить эти коммуникационные приспособления, Вам нужно рассчитать, какими показателями должен обладать трубопровод. Система отопления из полипропиленовых труб имеет такие характеристики:
- Высокое давление (от 10 атм);
- Герметичность;
- Гибкость.
Маркировка полипропиленовых труб поможет Вам сделать правильный выбор для того, чтобы организовать отопление, в ней указаны диаметры, коэффициенты и тип армоволокна
Внимание сразу нужно обратить на цифру, следующую за PN – это обозначение максимального давления в трубах при температуре от двадцати градусов. Большой популярностью пользуются трубы PN 25, PN 20, PN 16
При этом для обеспечения отопления небольшого одноэтажного здания можно купить трубы PN 10. Согласно ГОСТ, полипропиленовые трубы имеют свое уникальное обозначение для горячего и холодного водоснабжения. Если на Вашей коммуникации красная полоса – то она для отопления, если синяя – то, соответственно, для отвода холодной воды. Иногда на «теплых» трубах есть обозначение PPR. Такие трубопроводы могут работать в диапазоне от 10 до 90 градусов.

Фото: трубы для отопления
Помимо этого, производители обязаны в маркировке указать размер сечения, марку, номер партии и наименование компании. Общие характеристики полипропиленовых труб (могут изменяться в зависимости от марки), которыми обустраивается отопление:
- Максимально допустимая температура до 150 градусов;
- Плотность 0,8-0,9 грамм на кубический см;
- Предел растяжения до 25 Ньютонов на мм, а предел прочности до 35;
- Коэффициент теплового расширения – 0,15 мм;
- Теплопроводность: около 0,24 Ватт/мС (DIN 52612, если покупаете DIN трубы);
- Срок службы полипропиленовых труб для отопления – до 50 лет.
Чтобы правильно выбрать трубы из полипропилена, нужно обязательно проконсультироваться с мастером, каким термоволокном они должны быть укреплены. Этот показатель напрямую влияет на теплопроводность и долговечность коммуникации.

Пример маркировки полипропиленовых труб
Выбор достаточно большой, но при этом важно понимать: если Вы выберете не тот материал, то труба лопнет. Виды вставок для армирования:
- Стекловолокно;
- Лист алюминия, перфорированный лист, сплошное покрытие металлом изнутри.
Водяное снабжение холодной водой использует в основном стекловолокно. При этом, прослойка материала присутствует только в середине полипропиленовой трубы. Алюминий применяется для укрепления труб отопления. Его можно увидеть в середине трубы, снаружи и внутри.
При этом многие мастера советуют для отопления покупать трубы с алюминием. Они более долговечные, жесткие и лучше обеспечат герметичное соединение, чем армирование стекловолокном. Домашние мастера наиболее часто рекомендуют использовать коммуникации с алюминиевым армированием. Их проще подключить в стояк, к тому же они считаются самыми долговечными.
Важные нюансы монтажа полипропилена
Как правильно провести отопление в частном доме из полипропилена? Непосредственно возле котла трубы должны быть металлическими и арматура тоже. Пластиковый кран ставить нельзя, он быстро износится и потечет. Можно установить бронзовый кран и резьбовой переходник, а далее – полипропиленовую трубу.
Подключать трубопровод к котлу следует через «американку». При монтаже распределительного коллектора пластиковые краны не рекомендуется устанавливать рядом с отводящими тройниками, иначе при поломке крана придется переделывать весь узел.
Схема монтажа отопления из полипропилена.

Перед тем, как провести отопление в частном доме своими руками из полипропилена, составьте схему жилой площади и привяжите к ней каждый элемент разводки. Доступ к частям системы должен быть свободным на случай ремонта, отключения, замены.
Грязевой фильтр ставят только на горизонтальном участке «головкой» вниз (для удобной очистки). С обеих сторон от фильтра устанавливают отсекающие краны, чтобы для чистки не пришлось сливать воду из контура.
Расстояние между соседними трубами должно быть не меньше 5 сантиметров. Трубы крепят к стене с промежутками между опорами, величина которых зависит от сечения трубы и ее типа (армированная, неармированная). Для обычной трубы сечением 2 см шаг равен 60 см, для армированной – 1,2 метра. При диаметре 5 см – 1,2 и 1,9 соответственно.
Перед тем как самому сделать отопление в частном доме из полипропилена, учтите особенность труб ПП – линейное расширение материала, равное 0,15. При нагреве длина трубопровода увеличивается, это приводит к его деформации.
При длине цельного участка больше 5 метров необходима установка компенсатора. Можно изготовить компенсатор из отводов под прямым углом ( форме буквы П) или использовать готовую петлю из полипропилена (т.н. «калач»).
По причине термического расширения значительную часть опор для труб ПП делают подвижными (пластмассовые клипсы). Если компенсатор П-образный, по обе стороны отводов монтируют подвижные опоры. Далее, на прямых участках – неподвижные, на перекладине буквы П тоже неподвижную.
Аналогично для «калача». При расширении меняют форму «колена» компенсатора, деформация магистрали не происходит. Компенсаторы ставят строго петлей вниз, чтобы избежать завоздушивания.
Планирование системы
Разрабатывая проект отопительной системы дачи или дома, учитывают площадь жилых помещений и степень утепления стен. На один квадратный метр стандартная норма тепла – 41 ккал. В технической характеристике батареи указывается тепловая мощность одной секции. Исходя из этих данных, просчитывают количество секций радиаторов.
В дополнительные расчеты включают:
- Длину разводки труб полипропиленом;
- Количество поворотов и переходников;
- Наличие терморегуляторов и байпасов;
- Установку вертикальных и горизонтальных конструкций;
- Схему подключения к котельной (снизу, сбоку, двухтрубный или однотрубный вариант.
Как выполнять монтаж отопления из полипропиленовых труб?
Рассмотрим несколько практических примеров пайки трубопровода из полипропиленовой трубы.
Пайка производится специальным паяльником:
На каждом паяльнике есть регулятор температуры (1). Температура для пайки полипропилена выставляется 270 градусов. Нагрев трубы паяльником проводится в течение не более 5 секунд.
Нужно учесть следующее. Если работа проходит на улице в холодное время, либо в холодном помещении, время пайки увеличивается, т. к. паяльник быстро остывает.
В этом случае нужно либо увеличить температуру нагрева паяльника, либо увеличить время нагрева. Время нагрева также увеличивается при пайке труб большего диаметра, что иллюстрирует следующая таблица:
Собственно пайка. На паяльнике есть две насадки: одна для нагрева внутреннего диаметра, другая – наружного. Одновременно нагреваются обе детали, которые предполагается соединить:
Равномерно давим на обе детали, как бы навстречу друг другу – по направлению красных стрелок на фото:
По мере нагрева, муфта доходит до бортика, на трубе также появляется отбортовка. После нагрева, снимаем детали с насадок и состыковываем их друг с другом:
После соединения нагретых деталей их нужно зафиксировать на некоторое время
После состыковки придерживаем детали в течение до 30 секунд – чтобы они поостыли, и соединение затвердело. Отбортовка на трубе должна быть равномерной по всей окружности соединения.
Вот таким образом и паяется весь полипропилен, не зависимо от диаметра трубы и назначения, – будь то система отопления или водоснабжения. Единственное отличие, как было сказано выше, это время пайки: чем больше диаметр тубы, тем дольше требуется нагревать и фиксировать после соединения.
Была разработана насадка для паяльника, чтобы ещё облегчить и без того простое житие монтажника.
Насадка позволяет точно определить время, когда спаиваемые детали уже достаточно нагреты. В такой насадке есть специальное отверстие:
- через которое выходит расплавленный полипропилен. Как только он появился в отверстии:
- это сигнал: снимаем и состыковываем детали. Не надо засекать время по часам или отсчитывать секунды самому.
Есть ещё керамическая насадка, которая предотвратит вот такой вид расплавленной трубы:
Плюс такого соединения (без использования металла) в том, что благодаря отсутствию металлических соединений, соли жёсткости не нарастают в таких участках. А также после пайки получается монолитное соединение.
При работе с полипропиленом нужно учитывать наперёд все шаги – для того, чтобы не попасть в некоторые неудобные моменты. Такие «моменты» могут встречаться, когда, например, нужно произвести пайку в каком-то ограниченном пространстве и т. п.
Поэтому, прежде чем паять, лучше нарисовать на листе бумаги схему трубопровода (начиная от котла) и записать последовательность шагов.
Монтаж
Благодаря тому, что этот материал очень легкий и доступный, Вы можете своими руками организовать отопление частного дома, дачи или квартиры из полипропиленовых труб. Перед началом работы, Вам нужно сделать проект. На нем необходимо обозначить размеры и места соединений, особенности подключения и способ установки. С его помощью облегчается расчет потребных материалов. Вы можете его начертить сами или посредством использования специальной программы типа АвтоКАД или СолитВоркс.
Схема отопления из полипропиленовых труб
Разводка труб может производиться по двум принципам: с одной трубой и с двумя. Первый вариант – это когда для подачи от котла и возврата воды используется только одна трубы. Второй – классический способ организации отопления. Естественно, самому проще подключить систему с оной трубой, но в таком случае Вы не сможете равномерно топить жилье.

Виды соединений труб
Устройство системы отопления при установке только пластиковых труб или при их соединении с металлическими практически не отличается. Вам только нужно будет при сочетании разных материалов подобрать правильный диаметр. Чтобы это сделать проконсультируйтесь в магазине с мастером.
Монтаж полипропиленовых труб в систему отопления производится при помощи специального сварочного аппарата для пластика, но помимо него Вам нужна будет также соединительная фурнитура.
Как проводится пайка отопления полипропиленовыми трубами:
Трубы нужно обрезать д необходимого размера
Очень важно, чтобы места стыков были ровными и находились под прямым углом по отношению к полу;
После, Вам нужно обработать сечения обезжиривающими составами и убрать с их поверхности стружку;
Установите трубы в центратор. Это специальное устройство, которое поможет достичь максимальной геометрической точности соединения
После наденьте на места соединений фитинги;
Сварка производится только по инструкции. Внимательно прочитайте руководство пользователю к своему инвертору. После, нагревайте устройство и паяйте. Возможно также использование электросварочных муфт, в таком случае установка производится непосредственно в них.

Фото: сварка труб
Сортамент современных интернет и простых магазинов сантехнического оборудования позволяет Вам подобрать все, для системы отопления из полипропиленовых труб. Помимо фитингов часто используются специальные поворотники, американки и прочие соединения. Технология их установки аналогична.
Если же необходимо подключение полипропиленовых труб к системе отопления из металлических, то нужно воспользоваться фланцами, у них другая схема установки. Они на одной стороне имеют резьбу – для врезки в стальные трубы, а на втором – гладкий затвор, для установки на пластик.
Чтобы сделать центральное отопление из полипропиленовых труб, нужно купить все составляющие, цена на которые зависит от производителя и типа армирования, ниже представлен небольшой рейтинг:
Чтобы увеличить КПД и повысить эксплуатационный срок отопительной системы, профессионалы рекомендуют осуществлять монтаж отопления в частном доме своими руками с использованием труб из полипропилена. Уже по истечении года эксплуатации снижается эффективность работы их аналогов из металла, все потому, что при повышенных температурах эти трубы начинают ржаветь изнутри.
Комплектующие и правила пайки труб из полипропилена
Виды фитингов для полипропиленовых труб
Соединение полимерных труб может выполняться нескольким способами – пайкой, разъемными или неразъемными фитингами, склейкой. Для установки водяного отопления своими руками из полипропилена лучше всего подойдет диффузионная сварка. Основным соединительным элементом в этом случае являются фитинги.
Важно, чтобы качество приобретаемых компонентов не уступало трубам. Все фитинги для труб из полипропилена для отопления не имеют армирования
Это компенсируется более толстой стенкой. Они отличаются внешним видом и областью применения:
- Муфты. Предназначены для соединения отдельных труб в единую магистраль. Могут быть как одного диаметра, так и переходными для состыковки трубопроводов с разливным сечением;
- Уголки. Область применения – изготовление угловых участков магистралей;
- Тройники и крестовины. Необходимы для разделения магистрали на несколько отдельных контуров. С их помощью делается коллектор для отопления из полипропилена;
- Компенсаторы. Горячая вода провоцирует температурное расширение трубопроводов. Поэтому перед тем как спаять отопление из полипропилена следует установить компенсационные петли, которые не дают появиться поверхностному натяжению в магистрали.
Во время монтажа отопления из полипропилена необходимо применять специальный тип запорной арматуры, предназначенной для пайки.
Самостоятельная пайка полипропиленовых труб
Набор инструментов для пайки полипропиленовых труб
Для того чтобы сделать отопление из полипропилена следует приобрести минимальный набор инструментов. В него входят паяльник для труб, специальные ножницы и торцеватель. Последний необходим для зачистки патрубков от армирующего слоя в районе пайки.
Перед пайкой отопления из полипропилена следует отрезать нужный размер трубы. Для этого предназначены специальные ножницы с основанием для патрубка. Они обеспечат ровный срез без перекоса.
Для самостоятельного монтажа отопления из полипропилена потребуется выполнить следующие действия:
- Обезжирить место пайки на патрубках.
- С помощью торцевателя удалить армирующую прослойку из зоны нагрева.
- Включить паяльник и выставить его на определенную температуру.
- После нагрева зеркала установить патрубок и муфту в насадки. Нельзя делать осевые вращения во время нагрева полипропилена.
- После определенного промежутка времени состыковать патрубок и муфту между собой.
- Дождаться окончательного остывания.
Порядок пайки полипропиленовых труб
По такой технологии можно сделать надежную систему отопления из полипропилена своими руками. Преимущество данного метода заключается в возможности осуществления пайки на уже смонтированных участках магистрали. Таким способом можно оперативно выполнять ремонт отопления частного дома своими руками из полипропилена.
Важным моментом во время самостоятельной пайки водяного отопления из полипропилена является время нагрева заготовок. Оно зависит от диаметра трубы и толщины стенок. При недостаточном расплавлении материала процесс диффузии будет низок, что со временем приведет к расслоению стыка. Если же перегреть патрубок и муфту произойдет испарение части материала, и как следствие – сильное уменьшение наружных габаритов. Поэтому для монтажа отопления из полипропилена следует придерживаться рекомендуемого времени нагрева пластика в зависимости от его диаметра и толщины стенки.
Таблица для пайки полипропиленовых труб
Во время самостоятельной установки из полипропилена своими руками необходима хорошая вентиляция в помещении. При испарении пластика его летучие компоненты могут попасть в органы дыхания.
Виды труб для отопления
Труба полипропиленовая армированная, независимо от вида дополнительного материала, может применяться для подачи горячей воды по системе. Стекловолокно и базальтовая нить в процессе производства плавятся с полимером. Алюминий же фиксируется на стенке полипропилена при помощи специального клея. Металл имеет перфорацию. Это позволяет сохранить связь между внутренним и внешним слоем полимера.

Армированные полипропиленовые трубы независимо от материала, выбранного для усиления конструкции, имеют определенную структуру. Внутренний и внешний слой создается из полимера. В центре между ними проходит определенный материал для армирования.
При нагреве цельнополимерные трубы удлиняются и провисают. Труба полипропиленовая армированная отличается благодаря особой конструкции повышенной жесткостью. Наиболее эффективными в этом случае являются алюминий и базальтовое волокно. Они сокращают коэффициент деформации изделия в 3 раза. Их цена будет выше, чем у труб со стекловолокном.
Как подключить радиатор отопления к полипропиленовым трубам
Подключение необходимо осуществлять в такой последовательности:

- Сначала вставляется в муфту накидная гайка.
- Для обеспечения комфорта крепления трубопровода к стенам, требуется грамотно рассчитать высоту их расположения. Относительно крепления, для этого есть спецскобы, которые устанавливаются на саморезах либо гвоздях.
- Чтобы выполнить скрытую прокладку трубопровода из полипропилена в стене, используются специзделия. Вывод наружу возможен лишь в месте стыка радиатора с трубами.
- Для выполнения фиксации батарей к стене, используют один из крепежей, которые доступны для приобретения. Подвешивание приборов отопления на требуемой высоте проводится при помощи угловых кронштейнов. Панельные батареи комплектуют элементами крепежа.
Варианты систем отопления
Сегодня применяются две системы отопления, которые можно использовать для установки радиаторов отопления в доме: однотрубная и двухтрубная
Одно трубная схема подключения радиатора отопления.
Однотрубная система представляет собой отопление, при котором горячая вода поступает во все здание, сверху вниз стекает по трубам и отопительным приборам, которые смонтированы в отдельных квартирах. Эта система сегодня довольно распространена, применяется она для многоквартирных домов. Но именно подобный метод монтажа имеет значительные недостатки:
- нет возможности регулировать температуру отопительного оборудования (в редких случаях есть шанс установить дополнительную дорогостоящую систему);
- на верхних этажах температура выше, чем на нижних;
- при необходимости проведения ремонтных работ отключается весь стояк;
- полное отключение от центральной системы отопления довольно сложное.
Двухтрубная система подключения радиаторов отопления представляет собой подачу горячей воды по одной трубе, а уже остывшей — по другой (это так называемая обратка). Все радиаторы при такой системе подключаются только параллельно. Применяется двухтрубная система отопления для частных домов, коттеджей.
Она не только очень удобна и эффективна, но и имеет такие преимущества, как возможность регулировки температуры радиаторов, которая будет одинакова для всех батарей вне зависимости от этажности.
Сама отопительная система состоит из таких элементов, как:
Двух трубная схема подключения радиатора отопления.
- радиаторы отопления с заглушкой внизу и клапаном наверху;
- пробка радиатора;
- терморегулятор и клапан (для двухтрубной системы);
- запорный кран;
- хвостовик;
- байпас (для двухтрубной системы);
- муфты и контргайки для крепления радиаторов отопления;
- стояки в виде отопительных труб (могут быть выполнены из полипропилена, полиэтилена, металла).
Техника монтажа
Перед началом монтажа должна быть составлена схема отопительной системы (однотрубная, двухтрубная или коллекторная), определено место расположения и тип источника энергии (котла), отопительных элементов (радиаторов), запорной и регулировочной арматуры. На базе этой схемы определяется необходимый метраж труб и количество фитингов, включая детали крепежа.
Полипропиленовые фитинги.
ПП трубы выпускаются длиной 4 или 2 метра. В процессе монтажа их нужно соединять между собой для создания отопительного контура. Их также нужно подключать к отопительным приборам и трубопроводной арматуре (клапанам, вентилям, кранам и т.д.). Для этой цели служат соединительные элементы (фитинги) различного диаметра и назначения. Поскольку вариантов соединения очень много, то и ассортимент фитингов весьма богатый: муфты, крестовины, колена, тройники, переходники и многое другое.
Одно из преимуществ отопления в частном доме из полипропиленовых труб состоит в том, что соединение труб между собой и другими элементами отопительной системы производится довольно несложным способом: путём спаивания при помощи паяльника для полимерных материалов.
Паяльник для ПП труб.
Кроме паяльника понадобится ещё несколько незатейливых приспособлений, облегчающих работу с ПП трубами: труборез (кольцевой резчик), шейвер (если верхний слой трубы армирован алюминиевым листом) и инструмент для снятия фасок, а также чистая тряпка и ацетон для обезжиривания свариваемых элементов.
Технология предусматривает три способа спайки: раструбный, муфтовый и встык. В первом случае один конец трубы вставляется в расширенный конец другой трубы или фитинга. Во втором случае оба конца трубы соединяются с помощью дополнительной детали – муфты. Третий способ применяется при спайке ПП труб большого диаметра (более 50 мм), для частного дома он вряд ли потребуется.
Полипропиленовый шаровой кран перед старым пластинчатым радиатором отопления.
К спаиванию ПП труб нужно относиться с максимальным вниманием и ответственностью, так как даже незначительные упущения могут привести к плачевным последствиям. В частности, необходимо соблюдать следующие требования:
- обезжиривать и зачищать соединяемые поверхности;
- избегать перегрева торцов скрепляемых элементов;
- максимально быстро соединять прогретую трубу с фитингом;
- жёстко фиксировать скрепляемые элементы первые 8-10 секунд после пайки;
- при использовании ПП труб, армированных алюминиевой фольгой с внешней стороны, срезать верхний слой до появления пластика (около 1 мм).
Отапливаемый газом частный дом с системой отопления из полипропиленовых труб.
ПП трубы не подсоединяют непосредственно и источнику энергоснабжения (котлу). Их доводят до идущих от котла металлических труб, после чего оба типа труб соединяются на месте с помощью фитинга с металлической резьбой (переходника).
Паяные соединения ПП труб являются необслуживаемыми, поэтому при желании эти трубы можно прокладывать внутри стен. Только прежде чем зашивать стену, обязательно проверьте герметичность соединений и убедитесь, что пайка выполнена качественно.
Советы для монтажа
Материал трубы должен подходить под цель монтажа
Обязательно обращайте внимание на все характеристики, если собираете систему отопления;
Соединяйте элементы правильно. Можно использовать тройник, в нем нет металла, поэтому не будут откладываться соли;
Тщательно распланируйте все соединения и систему в целом. Также закрывайте следы линейного расширения;
Тщательно рассчитывайте все, предусматривая развитие разных ситуаций
Лучше оставлять место про запас, особенно там, где идет стена;
Чтобы делать все качественно, обращайте внимание на условия. Особенно если работы идут на улице
Так паяльник может остывать гораздо быстрее;
Если вы фиксируйте между собой несколько элементов, не спешите. Они должны прочно и крепко соединиться;
Состыковка должна быть правильной и герметичной;
Пластик не должен перегреваться при проведении работ. Иначе он может потерять форму, из-за чего отверстие закроется;











Характеристики ППР труб
Трубы ППР отличаются следующими характеристиками:
Устойчивы к износу. Их активно можно использовать и при холодном, и при горячем водоснабжении. Так как они обладают легкостью, то их очень легко транспортировать в любое удобное рабочее место. В процессе монтажа они не требуют специальных знаний или навыков. В процессе обслуживания они неприхотливы и достаточно просты
Также они обладают таким свойством, как герметичность, что особенно важно для труб любой сложности. Такие трубы не требуют дополнительного окрашивания, что также позволяет экономить денежные средства
Данный материал не позволяет различным вредным микроорганизмам размножаться. Минеральные отложения также не появляются с течением времени. Если говорить про безопасность таких труб, то они не выделяют никакие вредные вещества и совершенно не влияют на состав воды. В процессе движений жидкостей по трубам совершенно отсутствуют какие-либо вибрации. Гидравлическое сопротивление имеет очень низкий коэффициент. Если имеются блуждающие токи, то ППР трубы не пропускают их. Такой вид труб устойчив к любым видам воздействиям, от механического до химического. Данный материал может с легкостью выдерживать различный напор воды. Материал выдерживает высочайшие температурные режимы, которые могут достигать и ста двадцати градусов. При этом они не меняют своей формы и не деформируются.
Пошаговая инструкция сварки ПП труб
Рассмотрим порядок действий при соединении с использованием сварочного аппарата.

Применяют специальный труборез, который делает срез четко, без заусенцев.
Край среза зачищают, а фаскоснимателем зарезают внутренний слой полимера.
Подготовка паяльника
Перед работой прибор максимально нагревают, дают остыть и повторяют прогрев, после чего приступают непосредственно к пайке.
Нагрев и соединение деталей

В торец среза вставляют насадку, соответствующую размеру трубки и прогревают его не более 8 секунд. Сразу вставляют соединительный элемент, плотно прижимая. Повторяют со вторым срезом.
Преимущества
Полипропиленовые трубы и фитинги для отопления имеют массу преимуществ перед другими материалами. Они имеют широкую область применения. Транспортировка элементов полимерных коммуникаций не представляет сложности. Трубы отличаются малым весом. Также их просто монтировать.

Полипропиленовые коммуникации неприхотливы в эксплуатации. Они обеспечивают высокую герметичность стыков. Поверхность материала не подвержена коррозии, ее не нужно окрашивать. На полипропилене не размножаются грибки, различные бактерии и прочие микроорганизмы, на стенках не откладываются минеральные соли.
Полипропилен относится к категории безопасных для экологии и здоровья человека материалов. В процессе движения жидкости по системе отсутствуют вибрации. Полипропилен не пропускает электричество, является устойчивым к различным механическим и химическим воздействиям. Также это трудновоспламеняемый материал, который не деформируется даже при температуре 120ºС.






























